
Notas sobre o Transformador Ultra Linear
Primeira aproximação:
Não poderíamos nos omitir quanto ao mais feliz dos projetos de transformadores de saída. Os tipos Ultra Lineares como são chamados, tem sua origem na própria deficiência das etapas de saída em pentodos ou tetrodos de feixe concentrado. Qualquer circuito com etapa de saída nestes tipos de válvulas podem ser adaptados com vantagem para esta nova configuração. Neste segmento demonstraremos alguns circuitos clássicos e detalhes construtivos destes. Não vamos entrar em polêmica com os tipos de realimentação por catodo (padrão Quad) ou os mistos que incluem realimentação positiva ou negativa (padrão Mc Intosh).
Simplificando, o Ultra Linear é um transformador de saída que opera com potências relativamente altas sempre com pentodos ou tetrodos de feixe concentrado, proporcionando realimentação negativa em dose ideal pra estes mesmos tipos de válvulas no exato momento de amplificação, resguardando a potência inerente destas mesmas válvulas e melhorando substancialmente a sua qualidade de resposta. Como bônus extra, fornece menor distorção por intermodulação que os famosos circuitos com etapa de saída em triodo.
A construção dos mesmos evoluiu através dos tempos através da experimentação continua de novas formas construtivas levando em conta a boa técnica adquirida e utilizada nos transformadores convencionais. Para construí-los mantivemos a base de tabelas levantadas para as etapas convencionais que ate agora demonstramos nas diversas etapas do segmento “Transformadores”.
Breve histórico:
O transformador de saída do tipo Ultra Linear é uma idéia que surgiu de vários experimentadores. Segundo Dennis Grimwood, provavelmente em 1933 foi realizada na Austrália a primeira experimentação com este sistema de realimentação, mas sem duvida, atribui-se a Alan. D. Blumlein (1936) - comprovado pela sua patente 496,883 de 3 de Junho de, 1937. Em 1951 D. Hafler e H. I. Keroes da Acro USA descreveram com precisão o novo transformador, e foram responsáveis pela grande divulgação e comercialização dos mesmos.
À exceção dos norte-americanos e ingleses não houve uma grande demanda na Europa do novo tipo de configuração.
Um fato curioso aconteceu. A grande comercialização e difusão dos Ultra lineares na América foi devida às empresas americanas Acro e Dyna e eram em grande parte transformadores convencionais com derivação de grade auxiliar. Subitamente a Acro lançou um transformador especial para 100 Watt (Acrosound A350) que se tornou famoso e iniciou mais ou menos por acaso um novo caminho para Ultra lineares. - A utilização de um enrolamento separado para as grades auxiliares-.
Este transformador era originalmente projetado para válvulas tipo 6146 lançada nos fins dos anos ’50 e a esta se impunha a necessidade de baixa tensão de grade auxiliar. O recurso utilizado pela limitação da válvula tornou-se um importante elemento no aprimoramento da qualidade final do amplificador.
Os transformadores de grande potência até então comercializados não eram obras primas capazes de entrar nos padrões requeridos para alta fidelidade à época. O modêlo A 350 passou a intrigar os experimentadores pela baixíssima distorção em harmônios e intermodulação além de apresentar alta potencia e som de triodos!
A partir de 1955 apesar de algum desinteresse comercial no enrolamento separado para as grades auxiliares, evidentemente forçado pelos outros fabricantes de transformadores que não se contentavam a pagar pelo uso da patente, algumas pesquisas foram feitas nos anos ’60, mas o advento dos equipamentos transistorizados novamente desestimulou pesquisas mais aprofundadas no circuito em questão.
Nos anos ’90 outro fato surgiu. A Austrália era um grande produtor de televisores em preto e branco e a grande maioria destes usavam a EL36 e a PL36 (análogas à nossa 6П31С) e ao paralisar sua produção para entrar na era da cores, e preto-e-branco transistorizados, grandes estoques destas válvulas para reposição perderam a rotatividade comercial sendo vendidas a preços muito baixos. Como válvulas de potência, foram logo testadas em circuitos de áudio. Os resultados iniciais foram decepcionantes. Além de consumo elevado de filamento e placa as válvulas forneciam pouca potência e se autodestruíam rapidamente, além de proporcionarem um som de baixa qualidade.
Como primeira conclusão, conscientizou-se a impossibilidade das mesmas substituírem as tradicionais em quaisquer circuitos convencionais. Partiu-se, portanto para achar o seu novo ponto ideal de trabalho.
Lendo-se o manual da mesma EL36 observou-se a limitação de tensão da grade auxiliar para 170 V e que a corrente de placa não se elevava muito entre os 400 e 700V. Imediatamente apareceu a analogia com as antigas e extraordinárias 6146 dignas de altíssima potência e baixa distorção. Segunda conclusão - As EL36 passaram a ser suas substitutas baratas e mais eficientes. O mesmo acontece com as mais recentes e poderosas ,mas manhosas EL509(6П45С) e 6П42С.

Curvas da EL36 com 170V em grade auxiliar - 14000 micromhos

Curvas da 6146 com 200V em grade auxiliar - 7000 micromhos
xxxxxxxxxxxxxxxxxxxxx
O Ultra Linear recebeu este nome de Hafler e Keroes. È um transformador com carga distribuída entre placa e grade. O nome pode ser estranho, pois não há nada mais linear que uma reta. Todavia para explicarmos este nome, teremos que ver alguns conceitos básicos.
#Linearidade de um estágio eletrônico corresponde à constância do quociente: voltagem de saída dividido pela voltagem de entrada, -ao longo de todas as tensões de excitação na entrada até o limite de potências úteis deste estágio.
#Potências úteis são aquelas em que podemos utilizar o estágio de saída em questão até o limite em que a distorção harmônica total (THD) torna-se assintótica (aumenta para o infinito com pequeno aumento de potência). Ponto de saturação da(s) válvula(s) de saída.
O estágio de saída não Ultra Linear (convencional) oferece sempre alguma distorção (THD) cujo percentual varia de acordo com a potência.
O estágio de saída Ultra Linear promove uma distorção geral (THD) muito baixa e praticamente constante ao longo de todas as potências úteis detonando a assíntota no ponto de saturação da(s) válvula(s).
Os conceitos acima estarão demonstrados nos gráficos que veremos a seguir, porém antes demonstraremos para melhor compreensão como se chegou ao circuito Ultra Linear e como se determinou o ponto ótimo.
O levantamento a seguir foi
exraído de TETRODES WITH SCREEN FEEDBACK: Jan 1956 Wireless World staff.

A etapa de saída Ultra lLnear foi estudada a partir de uma configuração convencional em que pusemos vários terminais simetricamente dispostos para alimentação das grades auxiliares. Os transformadores Ultra Lineares se destinam à utilização em pentodos de potência ou tetrodos de feixe dirigido.
O estágio passa a ser alimentado por fontes estabilizadas tanto para polarização da grade de sinal como para a alimentação das válvulas de saída.
A figura acima demonstra o circuito de pesquisa no qual se injeta o sinal senoidal e mede-se a distorção e a linearidade do estágio.
A distorção corresponde à contagem de harmônicos em E0 ; e a linearidade é dada pela razão E0/E1 para os vários valores de E1 aplicados.
A tabela constante da mesma figura nos dá a relação de impedâncias do transformador em relação ao número de voltas: Através de constantes pesquisas e experiências constatou-se que ao atingir 44.7% do número de voltas, que corresponde à 20% da impedância do transformador, atingia-se a menor distorção harmônica combinada com a máxima potência possível nesta configuração. O valor encontrado é constante para qualquer válvula. Todavia pentodos ou tetrodos de menor potência perdem um pouco de sua eficiência auditiva desta forma, para válvulas do tipo 6V6 ou EL 84 recomenda-se 22.4% do número de voltas para as grades auxiliares.
Em estagio de saída convencional, Pentodos proporcionam potência, mas associam com ela, alta distorção THD. Triodos proporcionam baixa distorção com potência limitada. O Ultra Linear conjuga a potência elevada dos pentodos com a baixa distorção dos triodos. O ponto 44.7 corresponde ao ponto mais vantajoso de todo o sistema onde os pentodos oferecem na pior das hipóteses 78% de sua potencia máxima e distorção semelhante aos triodos, porém com menor distorção por intermodulação. Desta forma 0% corresponderá ao pentodo total e 100% ao triodo total.
È importante que v. compreenda que numa configuração Ultra Linear ótima, Placa e grade auxiliar recebem 100% de corrente contínua, mas só fornecem respectivamente 100% e 20% de corrente alternada, sendo que a grade auxiliar nunca estará estabilizada como era previsto no conceito original do pentodo mas receberá uma forte realimentação que irá alterar por completo o seu comportamento. Hafler e Keroes publicaram em sua patente apenas o comportamento das 6L6 e suas variantes e das 6V6. mas Langford Smith estudou o comportamento das KT66 e descobriu posteriormente que todas as válvulas de feixe dirigido comportavam-se igualmente. E os pentodos entre si. E que o ponto 44.7 era universal para qualquer válvula.
Nos gráficos abaixo vemos o levantamento da linearidade e distorção para os diversos terminais de impedância levantados por Langford-Smith. Os traços vermelhos correspondem ao erro de linearidade para os diversos pontos de derivação do transformador de saída.

Em “A” temos a configuração Pentodo puro vendo-se o erro de linearidade nesta configuração.
Em “B” temos a utilização de 5% da impedância total para as grades auxiliares. Nesta configuração
observamos a melhoria da linearidade representada pelo menor desvio da linha pontilhada
(linearidade ideal) e a drástica redução na distorção total. Linha THD.

Em “C” e “D” temos a progressão respectiva para 10% e 20% da impedância total do transformador
para as grades auxiliares, Notamos uma redução no desvio da linearidade ideal e uma nova redução
da distorção harmônica total (linha THD). No ponto 20% notamos além de uma forte redução na distorção o erro praticamente zero na linearidade que atinge o limite de sua potência útil vendo-as a linha THD reduzida na área útil e assintótica a partir da saturação.
As observações das quatro figuras acima bem demonstram os conceitos que acima dissemos e que a seguir repetimos:
Linearidade de um estágio eletrônico corresponde à constância do quociente: voltagem de saída dividido pela voltagem de entrada, -ao longo de todas as tensões de excitação na entrada até o limite de potências úteis deste estágio.
Potências úteis são aquelas em que podemos utilizar o estágio de saída em questão até o limite em que a distorção harmônica total (THD) torna-se assintótica (aumenta para o infinito com pequeno aumento de potência). Ponto de saturação da(s) válvula(s) de saída.
-Todo o levantamento acima se aplica na totalidade para os circuitos Single Ended –
xxxxxxxxxxxxxxxxxxxx
O Ultra Linear descrito por Hafler e Keroes.
Abaixo sugestão de distribuição de espiras nos transformadores da Acro segundo Hafler e Keroes.
Hafler e Keroes introduziram variações ás conhecidas técnicas de enrolamentos seccionados.
Abaixo sugestões para minimização da capacitância distribuída através do entrelaçamento entre primário e secundário

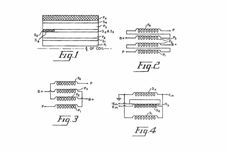
Abaixo configurações possíveis do Ultra Linear
Na figura 1
É apresentada a primeira idéia do Ultra Linear com enrolamento separado para grade auxiliar ao estilo da realimentação em catodo.
Na Figura 2
É apresentada a evolução natural do primeiro circuito.
Na Figura 3
É apresentada a extensão da Figura 2 (SE) para a disposição em PP.
As Figuras 4 e 5
São apresentadas modificações para pesquisa no comportamento dos Ultra Lineares.
Em 4 com derivação com um choque paralelo ao transformador e saída com a derivação adequada
Em 5 , com a mesma proposta com um resistor com derivação.

A Figura 6 representa um gráfico de curvas comparativo entre Tetrodos simples, Ultra Lineares e Triodos simples onde se dimensionam :
Em A a curva de THD distorção harmônica total.
Em B a curva de potência com o mesmo par de válvulas e tensão de alimentação.
Em C a curva de IM alta. Distorção por forte intermodulação. Nela verificamos que o menor valor é atingido na condição Ultra Linear.
Em D a curva de IM baixa. Distorção por fraca intermodulação. Nela verificamos que o menor valor é a atingido na condição triodo.

Informações Complementares
ULTRA-LINEAR OUTPUT TRANFORMERS:
Jan 1956 Wireless World
D M Leakey & R M Gilson

Disposição dos enrolamentos em versão SE visando a redução das três principais
perdas por indução.
Primeira posição LSC perda na grade auxiliar
Segunda posição LA perda no anodo
Tercira posição LL perda no ferro

Enrolamento típico para triodo (à esquerda).
ao serem extraídos terminais de grade auxiliar neste esquema,
teremos certamente instabilidade no circuito.

Arranjos de conexões ótimas para transformadores UL
À esquerda ligação seriada, à direita ligação em paralelo

Bons resultados práticos são obtidos com o esquema acima

Disposição seccional do diagrama anterior
Transformador Ultra linear para EL 84:
Ferragem EI 0112 área da janela 610mm² G.O.
Empilhamento 35mm
xxxxxxxxxxxxxxxxxxxxxxxxxxxxxxx
Um excelente Ultra Linear Universal para EL84, 6V6, (tensão máxima 350V). EL34, 6L6 (tensão máxima 400V).
Indutância 80 H a 50 Hz.
Carga Placa a Placa 7kOhms
Derivações a 20% a partir do centro
Secundário 4 seções de 0,94 Ohms ( 0.94; 3.75; 8.4; 15 Ohms).
Laminação EI-40mm janela 1200mm² chapa 0.35mm G.O. (preferencialmente) entrelaçada.
Empilhamento 40mm
Primário total 3860 espiras Secundário 4x 45 espiras.
Seqüência de camadas:
P/ 2 camadas de 193 voltas fio # 31
S/ 1 camada de 45 voltas fio # 24
P/ 6 camadas de 193 voltas fio #31
S/ 1 camada de 45 voltas fio # 24
P/ 2 camadas de 193 voltas fio #31
P/ 2 camadas de 193 voltas fio #31
S/ 1 camada de 45 voltas fio # 24
P/ 6 camadas de 193 voltas fio #31
S/ 1 camada de 45 voltas fio # 24B
P/ 2 camadas de 193 voltas fio #31
Todas as camadas na mesma direção
Camadas 1 e 2 entre primários
Camadas 2 a 5 usar isolação com fita de tecido
Impregnação posterior
Especificações:
Resistência do primário : 520 Ohms
Resistência no secundário a 15 Ohms: 1.2 Ohms
Indutância de primário: Nominal 80 H - não menos de 75 Ohms a 50 Hz
Perda por indutância primário / secundário medida pelo primário: 28-30 mH
Perda por indutância A1 –SC1 10mH
Perda por indutância A2 -SD2 9mH
Perda por indutância ½ primário ½ secundário 24 mH.

xxxxxxxxxxxxxxxxxxxxxxxxxxxxxxx
Levantamento do transformador Acrosound TO330 / 50Watts 2 x EL34 ou 2 x 6550
À esquerda desenho original da Acrosound –À direita levantamento de V.Astahov
Acrosound TO330 http://www.novacon.com.br/audiodyna3.htm Acro high power Williamson Amp. Levantamento realizado pelo Engenheiro V. Astahov
Dimensões originais do Acrosound montado em caixa hermética:
TO 330 10x12 x 14cm
Sugestão de nova ferragem em montagem aberta:
УШ-30X45 106 x 91 x 12 cm
Levantamento de espiras

Seção do Enrolamento/ Quantidade de Espiras/ Tipo do Fio
Para o mesmo circuito Novo choque de filtro 4 H: ferragem Ш32Х40, (2500 espiras ПЭВ 0,35.)
xxxxxxxxxxxxxxxxxxxxxxxxxxxxxxx
Simplificação Dyna. A431
Mesma ferragem, especificações e dimensões do Acro TO330
Nova disposição dos enrolaamentos:

Pri 1 – 1140 espiras 0,2
Pri 2 – 1520 espiras* +CT 0,2
Pri 3 – 1140 espiras 0,2
Sec 1 – 60 espiras 0.5
Sec 2 – 60 espiras* 0.5
*Sentido reverso
Os enrolamentos reversos diminuem as perdas por capacitâncias parasitas.
xxxxxxxxxxxxxxxxxxxxxxxxxxxxxxx
O mesmo lay-out foi utilizado no transformador da Willkason WK 4704:
Com as seguintes especificações:
Pri 1 – 1200 espiras # 31
Pri 2 – 2x800 espiras* # 31
Pri 3 – 1200 espiras # 31
Sec 1 – 25 espiras # 18
Sec 2 – 60 espiras* # 18
*Sentido reverso
Dimensões da ferragem: H=97 L=81 P=104 mm ferragem exposta.
xxxxxxxxxxxxxxxxxxxxxxxxxxxxxxx
Riga Amplifier
Amplificador de potência para ser usado em clubes, bailes de escolas e outras áreas.
Resposta de freqüências: 20-50000 Hz. Distorção 0,5%, ruído de fundo -75 dB.
Transformador de saída inspirado no Acrosound TO-350


|
Обозначение Nomenclatura segundo esquema |
Число Nùmero de espiras |
Число слоев Nùmero de camadas na bobina |
Провод Fio |
|
xxxxxxxxxxxxx |
xxxxxx |
xxxxxxxxxxxx |
xxxxxxxxxxx |
|
Т2 |
|
|
|
|
1-2 |
270 |
3 |
ПЭВ-1 0,41 |
|
3-4++ |
60 |
1 |
ПЭВ-1 0,64 |
|
5-6++ |
60 |
1 |
ПЭВ-1 0,64 |
|
7-8 |
270 |
3 |
ПЭВ-1 0,41 |
|
9-10-11 |
180 |
2 |
ПЭВ-1 0,41 |
|
12-13 |
270 |
3 |
ПЭВ-1 0,41 |
|
14-I5++ |
60 |
1 |
ПЭВ-1 0,64 |
|
16-17++ |
60 |
1 |
ПЭВ-1 0,64 |
|
18-13 |
270 |
3 |
ПЭВ-1 0,41 |
++= enrolamentos idênticos.
ПЭВ = Fio esmaltado


|
Обозначение Nomenclatura segundo esquema |
Число Nùmero de espiras |
Число слоев
Nùmero de camadas na bobina |
Провод Fio |
|
xxxxxxxxxxxxx |
xxxxxx |
xxxxxxxxxxxx |
xxxxxxxxxxx |
|
Т1 |
|
|
|
|
1-2 |
430 |
7 |
ПЭВ-1 0,55 |
|
3- экран bindagem |
- |
1 |
ПЭВ-1 0,25 |
|
4-5 |
380 |
5 |
ПЭВ-1 0,41 |
|
6-7 |
375 |
5 |
ПЭВ-1 0,41 |
|
8-9 |
122 |
2 |
ПЭВ-1 0,25 |
|
10-11-12 |
13x2 |
2 |
ПЭВ-1 1,08 |
|
13-14 |
10 |
2 |
ПЭВ-1 0,68 |
ПЭВ = Fio esmaltado
Curvas da 6РЗС (6R3S)



xxxxxxxxxxxxxxxxxxxxxxxxxxxxxxx
>>>>