
Base geral da terminologia óptica
1ª parte
Organizado por L. Paracampo
Introdução:
Este pequeno artigo visa esclarecer e normalizar o conhecimento na terminologia usada na tecnologia e na industria de óptica instrumental.
O conhecimento desta matéria esclarecerá e vira dirimir dúvidas comuns e correntes aos usuários de instrumentos ópticos tais como binóculos, telescópios microscópios e câmaras de fotografia e cinema.
Este assunto é fruto de uma serie de questões que me foram inquiridas ao longo dos anos e o bom conhecimento destas premissas tornara o usuário muito mais seguro no saber o que entender e como fazer para obter os resultados desejados.
A metodologia de apresentação e desenvolvimento é baseada no mesmo sistema adotado na Universidade Lomonosov para ensino da língua Russa. Você vive a ocasião e não tem interferência de outra matéria. Durante o aprendizado de sua língua natal, e dos conhecimentos comuns adquiridos ao longo de sua vida, você se aprimora em aprender, captar e adquirir métodos próprios, até desenvolver sua própria metodologia em ENSINAR-SE. Este é o método que empregamos.
Receba os conhecimentos sem ir além. Siga adiante naturalmente. Não pule etapas, pois o caminho entre dois pontos sempre tem uma série de pontos intermediários indispensáveis para a realização do caminho com êxito.
Para a perfeita assimilação e compreensão das premissas aqui descritas é necessário uma certa vivência e familiaridade do leitor para com equipamentos ópticos. Todavia leia, compreenda e confira as figuras que são valiosos auxiliares na compreensão da matéria.
O texto está mais voltado aos usuários de câmaras foto de alto nível.
E serve tanto para usuários como vendedores de lojas visando o perfeito conhecimento do produto em mãos.
Neste setor abordaremos:
Tipos básicos de lentes.
A terminologia em óptica básica explicada.
Classificação das aberrações em óptica.
Parâmetros em geral.
Defeitos geométricos.
Demonstração das aberrações.
Índice de refração.
Tipos básicos de lentes:
1° conceito.
As unidades de lentes são chamadas tecnicamente de ELEMENTOS.

As figuras acima demonstram os vários tipos de lentes ou elementos de lentes existentes.
Podem ser produzidas nos mais diversos materiais transparentes, nos mais variados diâmetros e mais variadas curvaturas.
A linha central das óticas corresponde ao chamado Eixo Óptico.
Terminologia:
A terminologia aqui desenvolvida não está em ordem alfabética, mas em ordem de sensibilidade individual ou de etapas de conhecimento. Ao longo dos anos, e de acordo com as dificuldades dos alunos, organizei uma seqüência lógica de apresentação dos termos usados em óptica que claramente facilitam a assimilação da matéria através de uma ordem seqüencial de estágios do aprendizado. Vamos aqui evitar a introdução à matemática e à física óptica, mas vamos reforçar os conceitos básicos para posterior compreensão em qualquer nível.
Conceito Fundamental:
O primeiro conceito a se ter em mente é o de LENTE =simples elemento destinado a compor uma unidade óptica = seja ela uma OBJETIVA, uma OCULAR, ou qualquer grupo óptico destinado a uma função especifica no instrumento. Estes (Objetiva e ocular) podem ser compostos de um ou mais ELEMENTOS (lentes), conforme demonstrado anteriormente em Tipos Básicos de Lentes.
O segundo será o Eixo óptico que é o eixo imaginário que passa no centro óptico de todas as lentes de qualquer elemento sistema ou instrumento óptico.
Definição de objetiva-
Sistema óptico para formação de imagem a partir de um objeto. - Onde raios paralelos ingressos formam um ponto. (ponto de foco). Nesta, a imagem deverá sempre ser formada fora do corpo físico da objetiva.
Definição de ocular-
Sistema óptico para observação de objeto ou da imagem formada. - Onde um ponto egressa em raios paralelos. Nesta, a imagem poderá ser formada dentro ou fora do corpo físico da ocular.
Conceito Básico: Uma objetiva é teoricamente uma ocular em sentido reverso, porém o contrário nem sempre será verdadeiro.
Saiba o que são objetivas e oculares nos diversos instrumentos e conheça os tipos básicos destas pelas figuras que virão em seguida.
Onde estão as objetivas e oculares nos diversos instrumentos:

Câmara fotográfica tipo reflex

Câmara fotográfica de visor e telêmetro

Binóculo prismático Luneta terrestre prismática


Teodolito Telescópio reflector

microscópio Estereoscópico
Este texto dará uma ilustração geral das dificuldades que os projetistas tiveram até chegar às objetivas mais recentes. O acompanhamento desta historinha ilustrativa visa dar uma visão geral dos parâmetros envolvidos nos cálculos e desenho de ópticas de qualidade.
As objetivas
fotográficas de acordo com o grau de aberrações são subdivididas nos seguintes
grupos: Acromáticas, Apocromáticas, Aplanáticas, e Anastigmaticas.
Recentemente surgiram muitos tipos de objetivas fotográficas que introduziram
vários aperfeiçoamentos desenvolvidos ao longo dos anos.
|
A primeira e mais simples das objetivas consiste em uma lente convergente. Esta lente, contudo pode vir nas mais variadas formas: biconvexa, plano-convexa, côncavo-convexa (menisco). Esta objetiva possui todas as deficiências de uma lente simples – aberrações cromáticas e esféricas, distorção e astigmatismo, Portanto, não pode ser tecnicamente aplicada em produtos de certa seriedade, encontram, todavia uso em câmaras e binóculos de brinquedo. A observação por estas lentes requer forte iluminação, devido e sua pequena luminosidade, -- da ordem de 1:10. O campo da imagem produzida é também muito pequeno. A melhor imagem do menisco é obtida com a concavidade para frente e com o diafragma situado à frente da lente. |
|
Menisco ou Monóculo
|
|
Para uma
melhor correção da objetiva foi necessário aumentar a quantidade de lentes,
ou elementos, isto levou a criação das objetivas de dois elementos. |
|
Acromática ou Dublet-acromátio |
|
O melhor arranjo de dupla lente possível. Este é o chamado “Periscope” (do grego –“Vejo em volta”), consiste de dois meniscos simétricos a um diafragma central. A KMZ usou esta configuração na câmara Yunkor e aqui no Brasil conhecemos a mesma configuração na antiga Orwolette. Conhecida como “Periscope de Steinheil” |
|
Simética ou Duplo-menisco |
|
Objetiva concebida para o portrait (retrato), esta é uma conjugação dos dois tipos anteriores, ou seja um tipo simétrico, composto por duas acromáticas. Na verdade introduziu-se uma certa assimetria entre os componentes para compensar a distorção. O astigmatismo e a curvatura e campo contudo não estão corrigidos. |
|
Dupla acromática 1° tipo |
|
Neste segundo tipo inverteu-se a ordem do grupo traseiro, o que levou a uma correção superior. Os dois conjuntos operam em forma reversa O conjunto frontal apresenta uma distorção em barril, o traseiro apresenta uma distorção travesseiro (ver adiante) e o sistema se compensa. “Voigtländer Portrait” |
|
Dupla acromática 2° tipo |
|
A criação da objetiva dita como “aplanat” também conhecida como simétrica de quatro elementos foi um grande avanço na tecnologia óptica. Esta objetiva é composta de dois conjuntos idênticos de elementos negativo e positivo (divergente –convergente). O diafragma situa-se entre os grupos colocando as pupilas de saída e de entrada em simetria aos planos do sistema. Este processo propicia as correções em conjunto de cromatismo, de aberrações esféricas e distorções de geometria. Continuam existindo o astigmatismo e a curvatura de campo. Uma boa imagem é obtida contudo com o diafragma fechado. Nas grandes aberturas, não se consegue uma imagem nítida no centro e na periferia da imagem. Este tipo de objetiva pode ser usado sem o conjunto frontal, Neste caso, a focal dobra criando “gratis” uma tele com o diafragma à frente do grupo óptico traseiro.
configuração como óptica de grande focal. Os erros geométricos do conjunto frontal são revertidos no conjunto traseiro propiciando uma boa correção. Quando usado como conjunto simples de grande distância focal o erro é minimizado por ser apenas aproveitada uma área parcial da imagem formada. |
|
Dupla acromática 3° tipo ou Aplanat |
A remoção do astigmatismo e da curvatura da imagem levou a construção de
sistemas complexos. A objetiva Anastigmat (“A” prefixo de negativo --
“astigmat” que não reproduz corretamente os pontos) veio a trazer uma reprodução
praticamente uniforme da imagem dando boa densidade e nitidez em todo o campo da
imagem fotográfica. Todas
as
objetivas
modernas
são
anastigmats.
Existem
diversos
esquemas
de
construção.
|
Anastigmático simétrico de seis lentes com dois grupos de lentes coladas. Cada grupo possui três lentes coladas. O diafragma é posicionado entre os grupos. Conhecido como grupo Dagor. |
|
Dagor |
|
Anastigmático simétrico de quatro lentes construído com dois grupos idênticos e dispostos simétricamente em relação ao diafragma. Uma lente convergente uma lente divergente, outra divergente e outra convergente todas com espaço de ar. Conhecido como grupo Celor.
|
|
Anastigmat simétrico |
|
A anastigmat assimétrica de quatro elementos consiste de dois grupos (ou componenentes) O grupo frontal é composto de duas lentes (positiva e negativa) com espaço de ar enquanto o grupo traseiro é composto de dois elementos colados. O diafragma fica no meio dos dois grupos. Este sistema recebeu grande aceitação e existem diversas variantes. Este sistema foi também o desenvolvimento direto da Dupla Acromática do 2° tipo visto anteriormente.
|
|
Anastigmat assimétrico |
|
A primeira versão (degenerada) da anastigmat assimétrica de quatro elementos (três grupos de lentes) foi o triplet de Cooke que tinha apenas três elementos. |
|
Triplet de Cooke |
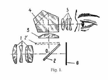
Parâmetros de uma óptica:
Distância focal de um conjunto óptico - objetiva ocular etc.:
É a distancia do centro óptico ao plano de formação de uma imagem situada no infinito. Também chamado de plano focal.
Nota: É prática usual colocar-se o caminho dos raios de luz (traçado dos raios luminosos) da esquerda para a direita, portanto os objetos ficarão sempre a esquerda e as imagens a direita.


A distância focal corresponde ao segmento <O-f> ou <O-f>
Os raios paralelos vindos do infinito que são representados na figura anterior são uma aproximação de raios de fato divergentes vindos de um objeto muito distante.
É importante que o leitor entenda que quando vemos um objeto, isto é, ele forma imagem em nossa retina, é porque cada ponto dele reflete ou emite luz que são emitidos em divergência, mas os mais brilhantes (com mais energia) chegam a nossa pupila e são convergidos para um ponto único na retina. A objetiva promove este comportamento para a câmara.
No Anexo
1 conheça as partes e funções de nossos olhos.
Imagem real e imagem virtual:
São as imagens formadas pelas lentes convergentes e divergentes respectivamente. A primeira é visualmente detectável sobre um plano. A segunda é uma imagem aérea e só será visualizada através da própria lente.
Imagens reais são as imagens verdadeiras obtidas por convergência. Ela ocorre quando os objetos são colocados além do ponto da distancia focal de uma lente ou um espelho convergente.
Imagens virtuais são formadas por lentes divergentes ou pela colocação de um objeto entre o ponto da distancia focal e o corpo físico da lente convergente. As imagens virtuais são formadas nos locais onde os raios de luz convergem.
Os desenhos acima explicam a dissertação.
Dioptria de uma lente ou conjunto óptico:
Corresponde a quantas vezes a distância focal esta contida em 1 metro –ou – o inverso da distância focal.

Dioptria de um prisma:
Desvio do raio luminoso proporcionado pelo prisma. Uma dioptria é igual ao desvio de 1cm num alvo a 1 metro de distância do prisma.

Conjunto óptico –
É o conjunto que forma uma unidade no sistema óptico- a objetiva,a ocular o sistema de prismas ou a óptica inversora.

Sistema óptico –
É o complexo de unidades que formam um instrumento. De um telescópio , binóculo ou teodolito etc.

Esquema óptico de uma câmara tipo reflex.
Ao associarem-se vários elementos de lentes , a dioptria resultante é equivalente ao somatório das unidades de dioptrias.
Centro óptico:
É o ponto (Matemático) de convergência e cruzamento dos raios luminosos
Corresponde ao ponto “O” na figura de parâmetros ópticos.
Potência:
É uma nomenclatura relativa e de duplo sentido, pois para um telescópio e tele objetivas corresponde ao maior valor de distancia focal portanto menos dioptria – Verifique-se grandes distâncias. Para uma lupa ou microscópio correspondem ao menor valor de distancia focal ou maiores dioptrias correspondente, portanto ao maior aumento a curta distância.
Portanto, potência tem como sentido apenas quanto a combinação de óptica conseguida para um determinado tipo de instrumento não podendo ser comparado a um outro de qualquer outro tipo diferenciado.
Ampliação de um sistema óptico:
Para cada determinado instrumento ou combinação de óptica, existe um critério específico
Ampliação de um telescópio ou luneta:
Ampliação de um binóculo:
Ampliação de uma lupa:
Ampliação de um microscópio:
Na máquina Fotográfica:
Estes conceitos serão detalhadamente explicados na segunda parte da obra.
Pois abordaremos em conjunto ópticas principais e aditamentos ópticos, também conhecidos como ópticas fásicas e afásicas.
Abertura ou Abertura relativa:
Vem a ser a razão (fração) representada pelo numerador pela distância focal e com seu denominador pelo diâmetro da pupila de saída do conjunto óptico . (em mm)
Pupila de saída (ou de entrada):
Abertura real da objetiva ou conjunto óptico. Este valor depende basicamente da formula da objetiva ; na maioria das vezes corresponde ao circulo da lente frontal, mas há muitas exceções. O valor exato será o do maior diâmetro do diafragma nas óticas que o possuírem. O fato de ser de entrada ou de saída dependem exclusivamente do uso da óptica. Se for uma objetiva de observação ou tomada de cena será de entrada, for se for uma objetiva de projeção ou uma ocular será de saída,
Nodo ou ponto nodal:
E o ponto teórico de cruzamento dos raios luminosos. Existem sempre dois pontos nodais em qualquer conjunto óptico ou objetiva. Devido à espessura física do conjunto.
A rotação da objetiva nos pontos nodais não altera o posicionamento da imagem. Dependendo da formulação da óptica este ponto poderá ser à frente, atrás ou interno ao conjunto.
Defeitos de geometria:
Os defeitos de Geometria óptica são também conhecidos como Aberrações de Seidel
São elas:
Aberração esférica:
Ocorre quando na margem da imagem o foco ocorre à frente ou atrás do exato foco no centro da imagem.
Coma ou efeito comático ou efeito de cometa:
É um caso particular em que pontos fora do eixo óptico aparecem em forma de cometa na imagem.
Astigmatismo:
É a indesejada propriedade do sistema óptico ser mais perfeito em uma direção do que em outra.
Curvatura de campo:
Corresponde a formação de uma imagem nítida fora de um plano. Ela é formada numa superfície curva, portanto incompatível com placas ou sensores planos.
Distorção:
Não corresponde à nitidez, mas a incapacidade de reproduzir linhas retas na imagem.
Demonstrações:
Astigmatismo. – O astigmatismo corresponde ao principal defeito e para o qual se procuram corrigir todos os erros de manufatura para que se obtenham ópticas de qualidade.
Existem diversas causas de Astigmatismo.
São elas:
Os baseados na estrutura assimétrica:
· Astigmatismo planar - devido ao plano de foco em formato irregular.
· Astigmatismo lenticular - devido a lentes de formato irregular.
Os baseados nos meridianos principais:
· Astigmatismo regular. –erro constante nos meridianos de um eixo.
· Astigmatismo irregular. –erro não repetitivo nos meridianos de um mesmo eixo.
Os baseados no foco dos meridianos principais:
· Astigmatismo simples: –erro de uma só natureza na produção da lente.
· Astigmatismo composto: –erro proveniente de duas ou mais causas na produção da lente.
· Astigmatismo misto –erro proveniente da interferência de causas na produção da lente.

Exemplo demonstrativo clássico da deficiência causada pelo Astigmatismo

efeito de coma
Estigmatismo
Chama-se estigmatismo à propriedade que determinados sistemas ópticos apresentam de fazer concorrer numa imagem pontual os raios provenientes de outro ponto (ou objeto).
O estigmatismo é um caso particular de astigmatismo causado pelas distorções entre meridianos ortogonais. (Plano meridional-o vertical- e o plano Sagital –o horizontal)
Explicação gráfica da formação do astigmatismo (estigmatismo)

fig 1: Cruzamento dos raios no Plano Meridional.

fig 2: Cruzamento dos raios no Plano Sagital.

fig 3: Formação de uma imagem no ponto de foco do plano Meridional.
-Deveria-se formar apenas um ponto-

fig 4: Formação de uma imagem no ponto de foco do plano Sagital.
-Deveria-se formar apenas um ponto-

Fig 5: Ao afastarmos o plano de foco do ponto Meridional, em direção ao ponto Sagital vemos a formação de uma elipse neste caso horizontal.

Fig 6: Ao continuarmos afastando o plano de foco do ponto Meridional, em direção ao ponto Sagital vemos a formação de um círculo extraordinário causado pela confluência dos dois erros.

fig 7: Em nossa trajetória de afastamento do plano de foco do ponto Meridional, em direção ao ponto Sagital vemos agora a formação de uma elipse neste caso vertical.

fig 8: Nesta vista geral observamos de uma só vez as diversas figuras que são geradas nas diversas posições de posicionamento do plano coletor de imagem.
Aqui visualizamos este fenômeno derivado da irregularidade entre os meridianos da óptica, como se manifestam na imagem real.

d = 0.0mm d = -1.0mm d = +1.0mm
No estigmatismo não há condição de se reproduzir um ponto. Ele será sempre na melhor condição um círculo e quando desfocado à frente ou atrás, reproduzirá uma elipse com eixos alternadamente maiores e menores.

Analogia: Meridianos e Paralelos de uma esfera.
O paralelo ccntral ou Equador é o meridiano horizontal e considerado como plano Radial ou Sagital
A esfera é medida pelos seus meridianos.
Uma esfera perfeita terá sempre meridianos iguais em qualquer direção.
Aberração esférica

Na aberração esférica os raios paralelos que incidem nos diversos pontos da superfície óptica não convergem no mesmo ponto de foco. Isto causa uma certa confusão, pois o ponto se transforma num círculo. Este é chamado círculo de confusão e é determinante da qualidade final da imagem.
Esta qualidade dependerá da Resolução e da Definição que a óptica propicia. Estes conceitos serão abordados no próximo segmento.
Raios periferais ou periféricos são os que incidem nas extremidades das lentes raios paraxiais são os que estão próximos ao eixo da lente.

Superfícies de foco uniforme para imagens tangenciais (T) e sagitais (S).
(P) corresponde a superfície de Petzval.

Quando uma objetiva possui coincidência das superfícies S T e P (em A) sua imagem é boa. Pois há uma melhora de astigmatismo.
Quando uma objetiva possui planos de foco como as superfícies S e T (em B) esta é considerada como uma anastigmat.
No Anexo 1, nas conclusões 1 e 2, V. verá uma interessante curiosidade.
Curvatura de campo:




Nestas figuras observa-se a perda de qualidade sagital (radial) na terceira imagem com 4.5mm fora da nitidez do ponto central.
Distorção:
Estas são as distorções geométricas .
A imagem correta é chamada de Ortoscópica e suas distorções são respectivamente a de Barril ou Travesseiro também chamada de Lençol-na-corda.
É a incapacidade da objetiva reproduzir fielmente linhas paralelas.


Conceito especial:
Índice de refração:
Neste último item, preparação para o quadro a seguir, diremos que os objetos transparentes não fazem com que a luz se comporte igualmente em todos os meios. Isto já se conhecia desde a mais remota antiguidade quando as pessoas viam sua imagem num espelho d’água e observavam sua imagem distorcida ao mergulhar.
Índice de refração vem a ser, portanto a medida da capacidade de um meio transparente em modificar o curso dos raios de luz. É medida pela relação entre os senos dos ângulos de incidência entre os dois meios.


Fim da primeira parte > Continua >>