
“Super Ultra Linear”










Amplifier Superlative
|
SOWTER TYPE U066 MULTI-PURPOSE PUSH-PULL EXPERIMENTERS TRANSFORMER “SUPER-ULTRA-LINEAR” CONFIGURATION |
PACKAGE
SIZE |
STYLE OPTIONS |
|
|
APPLICATION: For experimenters who wish to try valves such as 5881, EL34, 6550, 6L6, KT66 in various push-pull configurations such as triode, tetrode or pentode mode with a pair of valves or two pairs in parallel with or without cathode feedback. The primary may be connected to give an RLa-a of approximately 10K or 5k0 ohms and the secondary may be configured to give 16/8/4 ohms. If an 8 ohm speaker is used with the secondary configured to 16 ohms the primary reflected load will be 5k0 or 2k5 ohms. May be used for a range of high quality designs without any performance compromise or for experiments to study the effects of different circuit configurations. Please note the reflected impedances do not take account of the dc resistance of the windings. |
|||
|
FEATURES: High grade low loss grain oriented silicon iron core for minimal
distortion. 14 winding sections which can be configured so that all the
sections are always in use to ensure minimal leakage inductance so the
transformer has exceptional bandwidth and transient response. |
|||
|
BANDWIDTH: Depends on configuration but typically - 3dB at 10Hz and 40KHz. Best response is obtained with triode connection and/or with cathode feedback. |
|||
|
POWER at 25 Hz |
20 Watts minimum |
||
|
ANODE CURRENT max per side |
150 mA |
||
|
|
|
RLa-a = 10K |
RLa-a = 5K |
|
ANODES |
1,13 |
3,11 |
|
|
CATHODES (optional) |
6,8 |
6,8 |
|
|
HT+ |
5 |
5 |
|
|
JOIN |
5+9, 2+3, 11+12 |
5+9, 1+3, 2+4, 11+13, 10+12 |
|
|
33% SCREEN TAPS |
4,10 |
|
|
|
66% SCREEN TAPS |
2,.12 |
|
|
|
50% SCREEN TAPS |
|
4,10 |
|
|
Primary inductance (typical) |
70H |
30H |
|
|
Ratio Tertiary/Primary |
6% |
12% |
|
|
Primary resistance (typical) |
160 ohms |
120 Ohms |
|
|
E A Sowter Ltd The Boatyard, Cullingham Road IPSWICH IP1 2EG England |
Tel: +44(0)1473
252794 |
||
Acima Parâmetros e dados de utilização.
Abaixo dados construtivos.
Sowter Type U66
EI 0175 janela com 1480 mm2
Ferro laminado: Orthosil (M6) de grão orientado 0,014” de espessura.
Empilhamento 35mm entrecruzado.
Primário total 10.000 ohm 4500 espiras. 2 pacotes de enrolamento trifilar = 750 espiras fio 30
Secundário 4 conjuntos 1 ohm em 45 espiras em enrolamento tetrafilar =180 espiras fio 21
Terciário total 600 ohm 1120 espiras em enrolamento bifilar =560 espiras fio 27

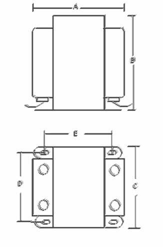
SL Presentation
|
A |
B |
C |
D |
E |
|
86 |
117 |
111 |
96 |
56 |
Nota: dimensões externas próximas ao Quad II

As setas indicam a orientação do grão.


Geometria da ferragem do transformador empregado

Montagem entrecruzada.


Detalhe da distribuição dos enrolamentos
1, 2, 3, 4, 5 e 13, 12, 11, 10, 9 enrolamentos trifilares.
6, 7 e 7, 8 enrolamentos simples. Secundários: enrolamentos tetrafilares.

Aparência do enrolamento secundário tetrafilar no transformador Sowter.
Outros transformadores “S-U-L”:
http://www.triodeguy.com/6AQ5%20Pentode%20PP.htm

Welter Company ACCP 2
http://www.klaus-boening.de/html/tube_amp.html

Amplimo Super Triode toroidal transformer
Veja O super Williamson de Menno Van der Veen http://www.novacon.com.br/audioampl3.htm

Transformador Super Ultra linear Tango:
Veja em http://www.novacon.com.br/audiohmq1c.htm

タョーク 60.000Ohms choke

XXXXXXXXXXXX
From:
Jan Erling Veiset
Sent:
13 December 2007 09:44
To:
Brian
Sowter
Subject:
Re: FW: 1036 Jan Veiset
Hi Brian,
I'm now testing the unity amplifier and the trifilar transformer performs very well. The amps are basically built from the attached revision of the schematic and the front end is a common cathode + split load phase inverter based on E80CC.
Working conditions are 260V B+, 190V Bg2 (regulated) and –90V for the negative rail. The amp runs near to class B, biased with 4 x 10mA in the output stage. Max power output was estimated to be about 30W and I measure the onset of clipping at ~15Vrms into 8.2R (~28W)
Global feedback is kept low, about 10dB, but there are no problems to apply more feedback to get even better technical results. Personally I am not a big supporter of global NFB, but used in proper amounts it does good things.
With 10dB NFB I achieved these results:
Zo : 0.8 ohm
THD: 0.6% (30Hz, 1kHz, 10kHz, 25W Po) (2nd and 3rd harmonic dominant)
Freq resp: 10Hz -100kHz (+0/-0.5dB). –3dB at 230kHz.
With feedback there was no major peaks or dips in the frequency response. There was a small, low Q peak at ~100kHz (+0.8dB) but with 24pF in parallel with the feedback resistor the response turned out to be straight as an arrow up to 100kHz.
The attached square wave is 30kHz, quite astounding for a tube amp.

All in all, this project ended up with the best frequency response I ever have seen in a tube amp with output transformer. Thank you for superb transformers!
Best regards,
Jan E Veiset
Norway
P.S. Sem alterações de circuito a EL86 poderá ser substituída pela EL36 dando 50Watts de saída
XXXXXXXXXXXX