
“Non Plus Ultra”1
Introdução:
Este segmento é uma continuação do anterior “EL86 800 Ohms”
E visa a construção de um sistema de som doméstico com características de extrema qualidade e como é projetado para uso doméstico, com máxima adaptabilidade ao ambiente para que é destinado. Faremos no transcurso, uma alusão aos melhores circuitos para uma escolha certa no final.
Comentários:
Em termos de circuito que nos ofereça qualidade de áudio, tendo na balança os fatores baixo preço, simplicidade e o fato de ser agradável ao ouvido, no sentido de impressionar o ouvinte, nada há que se iguale e menos ainda que supere o SRPP, --- mas todas as afirmações têm ressalvas...Veremos.
Por esta razão, é esta a configuração mais comum utilizadas em equipamentos de estado sólido.
Impossível será comparar estado sólido com transformador com o nível de qualidade de válvulas com transformador. Isto porque válvulas podem livremente operar em categoria “A”. Se transistores forem da mesma forma levados a grande potência, teremos assinado suas penas de morte. Sempre as correlações comerciais comparativas quanto à qualidade se efetuam com o que há de melhor em estado sólido com o que há de comum em válvulas e ainda assim, as válvulas podem ser consideradas como vencedoras em seu desempenho. Mas esta é uma outra história....
Vamos analisar o SRPP:
Nada há neste mundo que possa oferecer apenas vantagens. Dificuldades existem.
Pelo fato de ter tido experiência com tais circuitos, vamos enumerar os prós e os contras:
Ao configurarmos SRPP em válvulas teremos impedâncias bem mais elevadas que seus circuitos análogos em estado sólido. O SRPPiniciou sua vida como “cascode” ou “circuito Totem” e foi patenteado em 1940; por Maurice Artzt, patente (US 2,310,342) com o nome de “amplificador balanceado para corrente alternada ou contínua”. Sua aplicação como unidades de potência foi devida aos estudos de Arnoldt P. G. Peterson e Donald B. Sinclair no início dos anos 50, tendo adquirido a sua maioridade nas versões de J.Rodrigues de Miranda , nestas ultimas sem o transformador de saída. Aqui foram empregados...
Alto falantes de 800 Ohms. (700, 400, e 300 também existiram).
São antes de tudo alto-falantes delicados. O bobinamento de alta impedância exige fio fino e é mecanicamente pouco resistente; suscetível ao calor e ao acúmulo de energia térmica durante o funcionamento. Seu pequeno diâmetro aumenta a área em contacto com o ar e conseqüentemente a sua reatividade química causando oxidação prematura.
Acoplamento na saída.
Normalmente feito com capacitores eletrolíticos por onde passa o sinal de áudio, estes capacitores com o tempo aumentam sua fuga interna, facilitando a passagem de uma corrente quiescente na bobina de alta impedância. Isto não apenas causa aquecimento e queima da bobina do falante, como também posiciona a bobina fora de sua posição de repouso, causando uma boa distorção. (na fase correta, positivo no +) o cone vai visivelmente para frente como se estofasse lenta (ou rapidamente) quando o aparelho é ligado.
O fato de não ser um falante convencional complica bastante na reposição, além de amarrar o usuário a poucas opções.
Por outro lado, se v. desligar o equipamento aquecido e voltar a ligar, enquanto as válvulas ainda estiverem quentes, a corrente de +B carregará diretamente o capacitor através da bobina do falante e da válvula superior. V. ouvirá um tremendo “PANG” e - bobina queimada. Esta é uma característica de todos os SRPP sem transformador e é o chamado defeito “Avalanche Catastrófica”. A introdução do transformador de saída isola o circuito operador do circuito operado e minimiza este nefasto problema.
Outra deficiência que veio a aparecer recentemente com a melhoria do processo de fabrico dos eletrolíticos é o fenômeno inverso, ou seja, aumento de resistividade interna nos capacitores, neste caso causando perda acentuada de reposta tanto em nível geral como principalmente nos graves onde é tão necessário.
Normalmente transformadores de saída que não são eficientemente elaborados deterioram a qualidade de sinal. Neste caso (a configuração SRPP) esta influência é bem minimizada pela própria configuração do circuito. O SRPP requer necessariamente uma baixa relação de espiras primário/secundário. Esta propriedade nos é bastante útil, pois facilita a transferência de energia pelo acoplamento magnético; reduz as capacitâncias internas distribuídas; estende a resposta de freqüências nos dois extremos do espectro traz estabilidade ao circuito por introduzir um elemento de reação passiva, (não reativa como o alto falante) e isola o circuito eletrônico da caixa acústica utilizada de acordo com a opção do usuário. E ficamos livres da dependência de um (ou mais) falantes totalmente especiais; além do mais a (quase) nula corrente no circuito primário destes transformadores casadores de impedância aumenta a eficiência de transferência de energia (fala mais alto para o mesmo consumo de potência)
Na prática, não se consegue ouvir a diferença de qualidade tonal, mas somos brindados com um aparelho de confiabilidade funcional idêntica aos dos circuitos convencionais.
Primeira Chamada.
Considerando a alta qualidade original intrínseca do SRPP, com as deficiências apresentadas em suas “melhorias” resolvemos em nosso projeto por reverter ao uso do transformador de saída, o que anula todos os problemas oriundos de seu aperfeiçoamento.
Válvulas de saída.
Ao observar o diagrama nos projetos J R Miranda, veremos que o catodo da válvula superior está no potencial de placa da válvula inferior. Até ai nada de mais, mas dentro do catodo fica o filamento que se alimentado ao mesmo potencial das demais válvulas, nos trará uma grande diferença de voltagem entre catodo e filamento de quase 170V nos circuitos apresentados, que além de diminuir a eficiência (e vida) da válvula proporciona uma grande facilidade para arco interno filamento catodo, seguramente sendo um ponto para falhas eminentes. Este não é um dado teórico, pois já presenciei vários defeitos desta natureza. A solução é aparentemente simples, e era usada nos primeiros aparelhos do tipo:
Usa-se um transformador isolado para a alimentação dos filamentos das válvulas superiores, pois além do transformador não aquecer tanto como o catodo da válvula de saída, este pode ser generosamente isolado a contento. No início os fabricantes usaram este expediente, usando inclusive válvulas de filamento com alta voltagem (do tipo das usadas em “rabo quente”) que também são fabricadas com melhor isolação, mas depois desistiram devido ao custo de fabricação.
Venho aqui fazer uma nova chamada: O SEPP em suas diversas variantes amplificadoras de tensão, tais como amplificador Aikido e outros estão em moda entre os audiófilos. A base destes amplificadores é a ECC85 ou a ECC88 e suas descendentes. Estando durante muitos anos envolvido também com televisão sei que uma das causas mais comuns de defeitos em televisores eram o curto filamento-catodo no triodo superior destas válvulas muito usadas em na entrada dos tuners em configuração “Cascode”. Os fabricantes a substituíram pela EC900/PC900 (triodo único de alta pente) e posteriormente pelas 6CW4 (nuvistor) antes do advento definitivo dos transistores e posteriormente FETs.
Uma outra configuração em que o triodo (ou pentodo) superior não terá problema com curto entre filamento catodo, seria a utilização de um elemento regulador de corente constante em estado sólido. Considerando que a parte superior do “triodo de estado solido” no SRPP não está envolvida com o áudio, recomendo a configuração apresentada em Bottlehead Paramour II http://www.novacon.com.br/audio2a3amp1.htm
Uma extraordinária fonte de informação sobre funcionamento e utilização dos circuitos SRPP e SEPP encontram-se em http://www.tubecad.com/articles_2002/SRPP_Deconstructed/index.html e suas 28 páginas do grande sábio John Broskie.
Conclusão.
Após toda esta descrição que nos introduziu ao conceito básico do que pode vir a ser o melhor em concepção de amplificadores de potência para áudio em sua categoria, veremos que estes se adéquam muito bem às potências baixas e médias, apresentando um nível de áudio tanto em volume como em qualidade sonora comparável aos amplificadores valvulados de categoria superior aos dos componentes empregados.
A grande vantagem do circuito em totem é que as válvulas não necessitam de serem idênticas e muito menos equilibradas, pois estas desempenham corretamente suas funções sem necessitarem de serem pares casados ou de ajuste de equilíbrio de corrente quiescente.
Nosso grande “gol” é reproduzir “tops” com elementos bem mais baratos. Por esta razão não deveremos descuidar dos detalhes que o tornam absolutamente confiável e completamente compatibilizado com os aparelhos ditos convencionais.
Estudando os circuitos que uma vez foram comercializados e atacando os pontos falhos de suas construções desenvolvi uma coletânea que chamei de série “Premium” para uso com EL 84, EL86, EL 81, EL36 e EL509 com características excepcionais. Simples, Acessíveis, Convencionais quanto ao uso e potencialmente excedentes ao High-End-Audio comercial.
Todos usando transformadores simples e sem necessidade de altas tecnologias produtivas ou cuidados fora do convencional na sua preparação, também reduzindo desta forma o custo dos insumos utilizados na construção do produto final. Destes, os melhores projetos foram selecionados para a construção de nosso “Non Plus Ultra”
Estudo sobre a configuração do amplificador proposto NON PLUS ULTRA;
Premissas:
Especificação –Uso doméstico.
Potência útil 30 a 50Watts em estéreo.
Utilização de crossover eletrônico para minimizar distorções.
Utilização de Circuito SRPP nas zonas necessárias de maior eficiência.
Utilização de um único amplificador de graves com graves sintéticos não forçados.
(realce do 2º Harmônico)
Escolha de válvulas de fácil aquisição.
Começaremos pelo amplificador de graves.
Em seu trabalho sobre transformadores com enrolamentos bifilares,Alexander Bereskin cita os amplificadores de Peterson e Sinclair pela baixa distorção obtida em configuração SEPP.

A fig 4A é uma demonstração da idéia original
Na fig 4B foi empregado o transformador para altas tensões de saída.
http://www.tubebooks.org/file_downloads/bereskin_amp.pdf e http://www.novacon.com.br/audioel8682e.htm
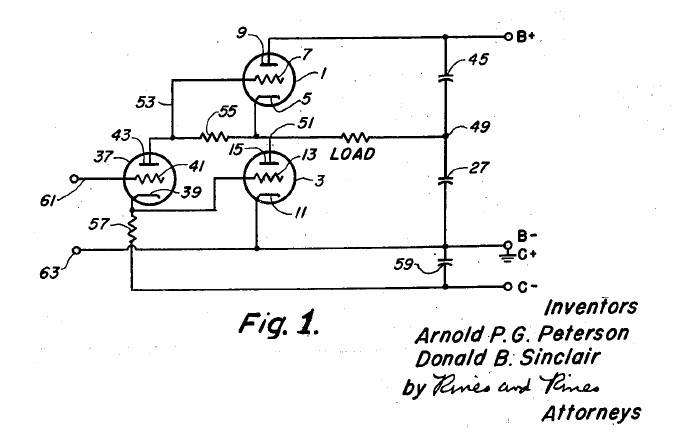
A invenção é explicada através dos desenhos que se seguem.
http://www.freepatentsonline.com/2802907.pdf
Na fig 1 ilustramos o principio simplificado do projeto

Na fig 2 vemos o diagrama da modificação utilizando válvulas de feixe

Na fig 3 incluimos um transformador de casamento e um choque para eliminação da absorção de potência

Na fig 4 combinamos as funções do choque e transformador de casamento numa única unidade.

Na fig 5 empregamos uma alteração que visa altas tensões de saída.

As figs 6, 7 e 8 são similares à fig 1 porem com diferentes tipos de entrada e inversores de fase.

As figs 6, 7 e 8 são similares à fig 1 porém com diferentes tipos de entrada e inversores de fase.


A fig 9 é uma alteração da fig 1

A fig 10 sumariza o projeto em sua forma ideal.

Ao analisarmos as versões 2, 5, 6, e 7 poderemos ver similaridades com as diversas versões dos amplificadores de J. Rodrigues de Miranda.

Este seria o modelo comercial mais conhecido com a aplicação dos princípios de Peterson & Sinclair. O National Horizon 20. Veja: http://www.novacon.com.br/audioel8682c.htm
No modelo da fig 10 eram empregados triodos 6J5 e tetrodos de feixe 1614.

Finalmente o prof. Rueda nos brinda com esta versão de sua própria construção.

xxxxxxxxxxxxxx
>>>>>>>>>>>>>